WA42Y波纹管平衡式安全阀
                            - 销售:
 - 销售:
 - 传真:
 
详情介绍
- 产品介绍
 - 服务承诺
 - 订货流程
 
WA42Y波纹管平衡式安全阀适用于工作温度≤200℃存在不稳定背压或有毒、腐蚀性介质的设备或管路上,作为超压保护装置。连接法兰标准≤4MPa采用JB/T……94系列1。>4MPa按JB/T……94系列2标准。
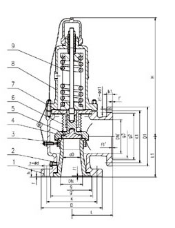
波纹管平衡式安全阀产品型号WA42Y-16/25/40/64/100C/P/R
主要零件材料
NO.  | 零件名称  | WA42Y-C型材料  | WA42Y-P型材料  | WA42Y-R型材料  | 
1  | 阀体  | WCB  | ZG1Cr18Ni8Ti,304  | CF8M  | 
2  | 阀座  | 2Cr13  | 1Cr18Ni8Ti  | 316  | 
3  | 调节圈  | 2Cr13  | 1Cr18Ni8Ti  | 0Cr18Ni12Mo2Ti  | 
4  | 阀瓣  | 2Cr13  | 1Cr18Ni8Ti  | 316  | 
5  | 反冲盘  | 2Cr13  | 1Cr18Ni8Ti  | 316  | 
6  | 波纹管  | 304  | 304  | 316  | 
7  | 导向套  | 2Cr13  | 1Cr18Ni8Ti  | 0Cr18Ni12Mo2Ti  | 
8  | 阀盖  | ZG230-450  | ZG230-450  | ZG230-450  | 
9  | 弹簧  | 50CrVA  | 50CrVA包覆氟塑料  | 50CrVA包覆氟塑料  | 

主要外形尺寸
型号  | 公称通径  | do  | D  | K  | g  | g1  | b  | f  | f1  | Z-ød  | DN'  | D1  | K1  | g3  | g2  | b1  | f'  | f1'  | Z1-ød1  | L  | L1  | ≈H  | 
25  | 16  | 115  | 85  | 65  | 16  | 2  | 4-14  | 32  | 140  | 100  | 78  | 18  | 2  | 4-18  | 110  | 95  | 378  | |||||
32  | 20  | 140  | 100  | 78  | 18  | 2  | 4-18  | 40  | 150  | 110  | 85  | 18  | 3  | 4-18  | 115  | 100  | 378  | |||||
40  | 25  | 150  | 110  | 85  | 18  | 3  | 4-18  | 50  | 165  | 125  | 100  | 18  | 3  | 4-18  | 120  | 110  | 406  | |||||
50  | 32  | 165  | 125  | 100  | 20  | 3  | 4-18  | 65  | 185  | 145  | 120  | 20  | 3  | 4-18  | 135  | 120  | 450  | |||||
65  | 40  | 185  | 145  | 120  | 20  | 3  | 4-18  | 80  | 200  | 160  | 135  | 20  | 3  | 8-18  | 160  | 140  | 520  | |||||
80  | 50  | 200  | 160  | 135  | 20  | 3  | 8-18  | 100  | 220  | 180  | 155  | 22  | 3  | 8-18  | 170  | 135  | 525  | |||||
100  | 65  | 220  | 180  | 155  | 22  | 3  | 8-18  | 125  | 250  | 210  | 185  | 22  | 3  | 8-18  | 195  | 175  | 690  | |||||
125  | 80  | 250  | 210  | 185  | 22  | 3  | 8-18  | 150  | 285  | 240  | 210  | 24  | 3  | 8-23  | 210  | 190  | 857  | |||||
150  | 100  | 285  | 240  | 210  | 24  | 3  | 8-23  | 175  | 310  | 270  | 240  | 26  | 3  | 8-23  | 255  | 230  | 838  | |||||
200  | 125  | 340  | 295  | 265  | 26  | 3  | 12-23  | 250  | 405  | 355  | 320  | 30  | 3  | 12-26  | 300  | 260  | 992  | |||||
WA42Y-25  | 25  | 16  | 115  | 85  | 65  | 16  | 2  | 4-14  | 32  | 140  | 100  | 78  | 18  | 2  | 4-18  | 110  | 95  | 378  | ||||
32  | 20  | 140  | 100  | 78  | 18  | 2  | 4-18  | 40  | 150  | 110  | 85  | 18  | 3  | 4-18  | 115  | 100  | 378  | |||||
40  | 25  | 150  | 110  | 85  | 18  | 3  | 4-18  | 50  | 165  | 125  | 100  | 20  | 3  | 4-18  | 120  | 110  | 406  | |||||
50  | 32  | 165  | 125  | 100  | 20  | 3  | 4-18  | 65  | 185  | 145  | 120  | 20  | 3  | 4-18  | 135  | 120  | 450  | |||||
65  | 40  | 185  | 145  | 120  | 22  | 3  | 8-18  | 80  | 200  | 160  | 135  | 20  | 3  | 8-18  | 160  | 140  | 520  | |||||
80  | 50  | 200  | 160  | 135  | 22  | 3  | 8-18  | 100  | 220  | 180  | 155  | 22  | 3  | 8-18  | 170  | 135  | 525  | |||||
100  | 65  | 230  | 190  | 160  | 24  | 3  | 8-23  | 125  | 250  | 210  | 185  | 22  | 3  | 8-18  | 195  | 175  | 690  | |||||
125  | 80  | 270  | 220  | 188  | 28  | 3  | 8-26  | 150  | 285  | 240  | 210  | 24  | 3  | 8-23  | 210  | 190  | 780  | |||||
150  | 100  | 300  | 250  | 218  | 30  | 3  | 8-26  | 175  | 310  | 270  | 240  | 26  | 3  | 8-23  | 255  | 230  | 838  | |||||
200  | 125  | 360  | 310  | 278  | 34  | 3  | 12-26  | 250  | 405  | 355  | 320  | 30  | 3  | 12-26  | 300  | 260  | 992  | |||||
WA42Y-40  | 25  | 16  | 115  | 85  | 58  | 65  | 16  | 2  | 4  | 4-14  | 32  | 140  | 100  | 78  | 18  | 2  | 4-18  | 110  | 95  | 378  | ||
32  | 20  | 140  | 100  | 66  | 78  | 18  | 2  | 4  | 4-18  | 40  | 150  | 110  | 85  | 18  | 3  | 4-18  | 115  | 100  | 378  | |||
40  | 25  | 150  | 110  | 76  | 85  | 18  | 3  | 4  | 4-18  | 50  | 165  | 125  | 100  | 20  | 3  | 4-18  | 120  | 110  | 406  | |||
50  | 32  | 165  | 125  | 88  | 100  | 20  | 3  | 4  | 4-18  | 65  | 185  | 145  | 120  | 20  | 3  | 4-18  | 135  | 120  | 450  | |||
65  | 40  | 185  | 145  | 110  | 120  | 22  | 3  | 4  | 8-18  | 80  | 200  | 160  | 135  | 20  | 3  | 8-18  | 160  | 140  | 520  | |||
80  | 60  | 200  | 160  | 121  | 135  | 24  | 3  | 4  | 8-18  | 100  | 220  | 180  | 155  | 22  | 3  | 8-18  | 170  | 135  | 525  | |||
100  | 65  | 235  | 190  | 150  | 160  | 24  | 3  | 4.5  | 8-23  | 125  | 250  | 210  | 185  | 22  | 3  | 8-18  | 195  | 175  | 690  | |||
125  | 80  | 270  | 220  | 188  | 176  | 28  | 3  | 4.5  | 8-26  | 150  | 285  | 240  | 210  | 24  | 3  | 8-23  | 210  | 190  | 857  | |||
150  | 100  | 300  | 250  | 204  | 218  | 30  | 3  | 4.5  | 8-26  | 175  | 310  | 270  | 240  | 26  | 3  | 8-23  | 255  | 230  | 838  | |||
200  | 125  | 375  | 320  | 260  | 282  | 38  | 3  | 4.5  | 12-30  | 250  | 405  | 355  | 320  | 30  | 3  | 12-26  | 300  | 260  | 992  | 
型号  | 公称通径  | do  | D  | K  | g  | g1  | b  | f  | f1  | Z-ød  | DN'  | D1  | K1  | g3  | g2  | b1  | f'  | f1'  | Z1-ød1  | L  | L1  | ≈H  | 
WA42Y-64  | 25  | 16  | 140  | 100  | 58  | 78  | 22  | 2  | 4  | 4-18  | 32  | 140  | 100  | 66  | 78  | 18  | 2  | 4  | 4-18  | 110  | 100  | 277  | 
32  | 20  | 155  | 110  | 66  | 82  | 24  | 2  | 4  | 4-23  | 40  | 150  | 110  | 76  | 85  | 18  | 3  | 4  | 4-18  | 130  | 110  | 289  | |
40  | 25  | 170  | 125  | 76  | 95  | 24  | 3  | 4  | 4-23  | 50  | 165  | 125  | 88  | 100  | 20  | 3  | 4  | 4-18  | 130  | 120  | 319  | |
50  | 32  | 180  | 135  | 88  | 105  | 26  | 3  | 4  | 4-23  | 65  | 185  | 145  | 110  | 120  | 22  | 3  | 4  | 8-18  | 135  | 130  | 389  | |
65  | 40  | 205  | 160  | 110  | 130  | 28  | 3  | 4  | 8-23  | 80  | 200  | 160  | 121  | 135  | 22  | 3  | 4  | 8-18  | 175  | 160  | 493  | |
80  | 50  | 215  | 170  | 121  | 140  | 30  | 3  | 4  | 8-23  | 100  | 235  | 190  | 150  | 160  | 24  | 3  | 4.5  | 8-23  | 175  | 160  | 483  | |
100  | 65  | 250  | 200  | 150  | 168  | 32  | 3  | 4.5  | 8-26  | 125  | 270  | 220  | 176  | 188  | 28  | 3  | 4.5  | 8-25  | 195  | 195  | 613  | |
150  | 100  | 345  | 280  | 204  | 240  | 38  | 3  | 4.5  | 8-34  | 200  | 375  | 320  | 260  | 282  | 38  | 3  | 4.5  | 12-30  | 280  | 265  | 894  | |
WA42Y-100  | 25  | 16  | 140  | 100  | 58  | 78  | 24  | 3  | 4  | 4-18  | 32  | 140  | 100  | 66  | 78  | 18  | 2  | 4  | 4-18  | 110  | 100  | 277  | 
32  | 20  | 155  | 110  | 66  | 82  | 24  | 2  | 4  | 4-23  | 40  | 150  | 110  | 76  | 85  | 18  | 3  | 4  | 4-18  | 130  | 110  | 289  | |
40  | 25  | 170  | 125  | 76  | 95  | 26  | 2  | 4  | 4-23  | 50  | 165  | 125  | 88  | 100  | 20  | 3  | 4  | 4-18  | 130  | 120  | 319  | |
50  | 32  | 195  | 145  | 88  | 112  | 28  | 3  | 4  | 4-26  | 65  | 185  | 145  | 110  | 120  | 22  | 3  | 4  | 8-18  | 135  | 130  | 389  | |
65  | 32  | 220  | 170  | 110  | 138  | 32  | 3  | 4  | 8-26  | 80  | 200  | 160  | 121  | 135  | 22  | 3  | 4  | 8-18  | 175  | 160  | 493  | |
80  | 40  | 230  | 180  | 121  | 148  | 34  | 3  | 4  | 8-26  | 100  | 235  | 190  | 150  | 160  | 24  | 3  | 4.5  | 8-23  | 175  | 160  | 483  | |
100  | 50  | 265  | 210  | 150  | 172  | 38  | 3  | 4.5  | 8-30  | 125  | 270  | 220  | 176  | 188  | 28  | 3  | 4.5  | 8-25  | 195  | 195  | 613  | |
150  | 80  | 355  | 290  | 204  | 250  | 46  | 3  | 4.5  | 12-34  | 200  | 375  | 320  | 260  | 282  | 38  | 3  | 4.5  | 12-30  | 280  | 265  | 894  | 
良好的品质、优良的服务 千亿app官方web站登入-千亿(中国)为你创造更多价值!
   
  
“千亿app官方web站登入-千亿(中国)”的期望,不断提升服务质量,精益求精,“真诚的服务”是“千亿app官方web站登入-千亿(中国)”永恒的主题。“千亿app官方web站登入-千亿(中国)”严格按照IS09001-2000 质量体系认证要求,质量严格把关, 责任到人,确保生产、销售、服务的健康运行。加强与用户沟通,竭诚为广大客户提供优良产品,至善至美服务。特此我厂做出以下承诺:
  
产品标准:
  
产品严格按照中国GB、HG 标准和美国API等标准设计、制造、验收。密封面硬度达到国家规定要求,宽度超过国家标准。 
  
售前服务:
  
产品介绍,技术交流,非标产品设计,疑难解答。 
  
售中服务:
  
守信合同,保证及时供货,随时保持与客户联系。 对特殊或复制的产品,我厂安排技术人员对用户进行产品使用、故障排除
  
售后服务:
  
1、“千亿app官方web站登入-千亿(中国)”牌产品品质期为自出厂起12个月,实行“三包”服务(包退、包换、保修)。 
  
2、产品在使用中我厂定期组织技术、质检人员进行访问,征询用户对产品质量、 使用状况、改进意见等方面的反馈, 以便进一步提高产品质量。 
  
3、对用户投诉质量问题,快速作出反应,售后服务人员在24-36小时(省外48小时)赶赴现场。 
  
4、对售后服务,要求用户填写服务后的质量反馈信息表,并作出鉴定意见,以便提高千亿app官方web站登入-千亿(中国)的服务质量。 
  
1、客户如对产品有特殊要求,须在订货合同中提供以下说明: 
  
a、结构长度;
  
b、连接形式;
  
c、公称直径、全通径、缩径、管道尺寸;
  
d、运行介质及温度、压力范围;
  
e、试验、检验标准及其他要求 
  
2、本厂可根据客户特定要求配置各类驱动装置。 
  
3、如由客户提供确定的阀门类型和型号时,客户应正确说明其型号的含义和要求,在供需双方理解一致的条件下签订合同。 
  
4、期货、订货的客户请先来电函详细告诉所需的阀门型号、规格、数量以及交货时间、地点,并按总的30%预定金或全额货款及时汇入我厂帐户,其余货款待发货前汇入,以便及时安排发货。
  
订单流程:
  
1、客户采购清单传真至,或来电咨询 
  
2、收到客户采购清单,为客户提供阀门型号选型与报价(价格清单)。
  
3、具体商定:交货期、特殊要求等事宜。
  
订货须知:
  
1、客户如对产品有特殊要求,须在订货合同中提供以下说明:
            | 
    |||||
 
            | 
    |||||
2、本厂可根据客户特定要求配置各类驱动装置。
            | 
    |||||
3、如由客户提供确定的阀门类型和型号时,客户应正确说明其型号的含义和要求,在供需双方理解一致的条件下签订合同。
            | 
    |||||
4、期货、订货的客户请先来电函详细告诉所需的阀门型号、规格、数量以及交货时间、地点,并按总的30%预定金或全额货款及时汇入我厂账户, 其余货款待发货前汇入,以便及时安排发货。
            | 
    
售中服务:
  
守信合同,保证及时供货,随时保持与客户联系。
  
对特殊或复制的产品,我厂安排技术人员对用户进行产品使用、故障排除
  
售后服务:
  
1、“千亿app官方web站登入-千亿(中国)”产品品质期为自出厂起12个月,实行“三包”服务(包退、包换、保修)。
  
2、产品在使用中我厂定期组织技术、质检人员进行访问,征询用户对产品质量、使用状况、改进意见等方面的反馈,
  以便进一步提高产品质量。
  
3、对用户投诉质量问题,快速作出反应,售后服务人员在24-36小时(省外48小时)赶赴现场。
  
4、对售后服务,要求用户填写服务后的质量反馈信息表,并作出鉴定意见,以便提高“千亿app官方web站登入-千亿(中国)”的服务质量。
声明  | 
                          
  |