弹性座封闸阀
                            - 销售:
 - 销售:
 - 传真:
 
详情介绍
- 产品介绍
 - 服务承诺
 - 订货流程
 
弹性座封闸阀也称软密封闸阀,弹性座封闸阀采用无凹腔结构,阀体阀盖内外表面喷涂环氧树脂,闸板表面包覆橡胶,这样从根本上杜绝了腐蚀发生的可能性,阀杆密封处舍弃填料而采用“O”形密封圈,使得蜜蜂更加可靠。根据需要,本闸阀可以采用操作杆、手轮、电动及气动等方式操作。
结构特点
1.整体阀盖暗杆设计,结构紧凑;阀杆螺母与闸板两体结构,无卡阻现象发生;直通道,无泄留凹腔;阀杆密封采用“O”形密封圈。 
2.有优良的防腐性能,壳体内,外表面喷涂环氧树脂,需要时内表面衬搪瓷;连接螺栓采用内六角螺栓,顶部胶封。
3.可靠的卫生性环氧树脂符合卫生标准GB/T17219-1998,闸板整体包覆符合卫生检验的橡胶;阀杆、阀杆螺母等零件采用不受水腐蚀的不锈钢或青铜等到材料。
适用饮用水、给排水、污水处理、天然气与煤气、工业以及食品等行业。

弹性座封闸阀 主要性能参数
压力等级  | 1.0MPa、1.6MPa、2.5MPa  | 
阀体耐压  | 1.5MPa、2.4MPa、3.75MPa  | 
密封试验  | 1.1MPa、1.76MPa、2.75MPa  | 
工作温度  | 0~80℃  | 
适用介质  | 水、油、蒸气等  | 
 
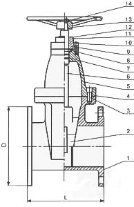
弹性座封闸阀 主要零件材料
序号  | 名称  | 材料  | 序号  | 名称  | 材料  | 
1  | 阀体  | 球墨铸铁  | 8  | 止推垫  | 锡青铜  | 
2  | 闸板  | 球墨铸铁外覆EPDM  | 9  | 轴套  | 锡青铜  | 
3  | 螺栓  | 镀锌  | 10  | 螺栓  | 镀锌  | 
4  | 密封圈  | NBR  | 11  | 轴盖  | 球墨铸铁  | 
5  | 阀盖  | 球墨铸铁  | 12  | 防尘罩  | NBR  | 
6  | 阀杆  | 不锈钢  | 13  | 手轮  | 铸铁  | 
7  | “O”形密封圈  | NBR  | 14  | 紧固螺母  | 镀锌  | 

弹性座封闸阀 主要外形尺寸
型号  | 公称口径DNmm  | L  | D1  | D  | Z-Φd  | H  | ||
1.0MPa  | 1.6MPa  | 1.0MPa  | 1.6MPa  | |||||
RVC(H)X  | 50  | 180  | 125  | 165  | 4-Φ18  | 268  | ||
65  | 190  | 145  | 185  | 4-Φ18  | 296  | |||
80  | 240  | 160  | 200  | 8-Φ18  | 340  | |||
100  | 250  | 180  | 235  | 8-Φ18  | 367  | |||
125  | 254  | 210  | 250  | 8-Φ18  | 424  | |||
150  | 280  | 240  | 290  | 8-Φ23  | 515  | |||
200  | 300  | 295  | 340  | 8-23  | 12-23  | 550  | ||
250  | 380  | 350  | 355  | 410  | 12-23  | 12-25  | 685  | |
300  | 400  | 400  | 410  | 460  | 12-23  | 12-25  | 760  | |
350  | 430  | 460  | 470  | 520  | 16-23  | 16-25  | 845  | |
400  | 406  | 515  | 525  | 580  | 16-26  | 16-30  | 945  | |
450  | 432  | 565  | 585  | 640  | 20-26  | 20-30  | 1020  | |
500  | 457  | 620  | 650  | 715  | 20-26  | 20-34  | 1140  | |
600  | 508  | 725  | 770  | 840  | 20-30  | 20-36  | 1320  | |
RVXX表示明杆式闸阀
RVXP表示附省力装置
RRXX表示明杆式闸阀
RRHX表示明杆式附手轮
RREX表示明杆式附电动操作装置
RVCX表示非明杆式附传动帽
RVHX表示非明杆式附手轮
RVHS表示非明杆式信号显示器
RVEX表示非明杆式附电动操作装置
RVCH表示非明杆式附传动帽卧式操作装置
RVHH表示非明杆式附手轮卧式操作装置
良好的品质、优良的服务 千亿app官方web站登入-千亿(中国)为你创造更多价值!
   
  
“千亿app官方web站登入-千亿(中国)”的期望,不断提升服务质量,精益求精,“真诚的服务”是“千亿app官方web站登入-千亿(中国)”永恒的主题。“千亿app官方web站登入-千亿(中国)”严格按照IS09001-2000 质量体系认证要求,质量严格把关, 责任到人,确保生产、销售、服务的健康运行。加强与用户沟通,竭诚为广大客户提供优良产品,至善至美服务。特此我厂做出以下承诺:
  
产品标准:
  
产品严格按照中国GB、HG 标准和美国API等标准设计、制造、验收。密封面硬度达到国家规定要求,宽度超过国家标准。 
  
售前服务:
  
产品介绍,技术交流,非标产品设计,疑难解答。 
  
售中服务:
  
守信合同,保证及时供货,随时保持与客户联系。 对特殊或复制的产品,我厂安排技术人员对用户进行产品使用、故障排除
  
售后服务:
  
1、“千亿app官方web站登入-千亿(中国)”牌产品品质期为自出厂起12个月,实行“三包”服务(包退、包换、保修)。 
  
2、产品在使用中我厂定期组织技术、质检人员进行访问,征询用户对产品质量、 使用状况、改进意见等方面的反馈, 以便进一步提高产品质量。 
  
3、对用户投诉质量问题,快速作出反应,售后服务人员在24-36小时(省外48小时)赶赴现场。 
  
4、对售后服务,要求用户填写服务后的质量反馈信息表,并作出鉴定意见,以便提高千亿app官方web站登入-千亿(中国)的服务质量。 
  
1、客户如对产品有特殊要求,须在订货合同中提供以下说明: 
  
a、结构长度;
  
b、连接形式;
  
c、公称直径、全通径、缩径、管道尺寸;
  
d、运行介质及温度、压力范围;
  
e、试验、检验标准及其他要求 
  
2、本厂可根据客户特定要求配置各类驱动装置。 
  
3、如由客户提供确定的阀门类型和型号时,客户应正确说明其型号的含义和要求,在供需双方理解一致的条件下签订合同。 
  
4、期货、订货的客户请先来电函详细告诉所需的阀门型号、规格、数量以及交货时间、地点,并按总的30%预定金或全额货款及时汇入我厂帐户,其余货款待发货前汇入,以便及时安排发货。
  
订单流程:
  
1、客户采购清单传真至,或来电咨询 
  
2、收到客户采购清单,为客户提供阀门型号选型与报价(价格清单)。
  
3、具体商定:交货期、特殊要求等事宜。
  
订货须知:
  
1、客户如对产品有特殊要求,须在订货合同中提供以下说明:
            | 
    |||||
 
            | 
    |||||
2、本厂可根据客户特定要求配置各类驱动装置。
            | 
    |||||
3、如由客户提供确定的阀门类型和型号时,客户应正确说明其型号的含义和要求,在供需双方理解一致的条件下签订合同。
            | 
    |||||
4、期货、订货的客户请先来电函详细告诉所需的阀门型号、规格、数量以及交货时间、地点,并按总的30%预定金或全额货款及时汇入我厂账户, 其余货款待发货前汇入,以便及时安排发货。
            | 
    
售中服务:
  
守信合同,保证及时供货,随时保持与客户联系。
  
对特殊或复制的产品,我厂安排技术人员对用户进行产品使用、故障排除
  
售后服务:
  
1、“千亿app官方web站登入-千亿(中国)”产品品质期为自出厂起12个月,实行“三包”服务(包退、包换、保修)。
  
2、产品在使用中我厂定期组织技术、质检人员进行访问,征询用户对产品质量、使用状况、改进意见等方面的反馈,
  以便进一步提高产品质量。
  
3、对用户投诉质量问题,快速作出反应,售后服务人员在24-36小时(省外48小时)赶赴现场。
  
4、对售后服务,要求用户填写服务后的质量反馈信息表,并作出鉴定意见,以便提高“千亿app官方web站登入-千亿(中国)”的服务质量。
声明  | 
                          
  |