J44H角式截止阀
                            - 销售:
 - 销售:
 - 传真:
 
详情介绍
- 产品介绍
 - 服务承诺
 - 订货流程
 
J44H角式截止阀的启闭件是塞形的阀瓣,密封面呈平面或锥面,阀瓣沿流体的线作直线运动。阀杆的运动形式,有升降杆式(阀杆升降,手轮不升降),也有升降旋转杆式(手轮与阀杆一起旋转升降,螺母设在阀体上)。
角式截止阀 产品特点
1、结构简单,制造和维修比较方便。
2、工作行程小,启闭时间短。
3、密封性好,密封面间磨擦力小,寿命较长。
设计与制造符合中国国家标准
1、基本结构形式:角式
2、公称压力:PN1.6-4.0(MPa)
3、公称通径:DN15-300(mm)
角式截止阀 应用规范
遵循规范  | STANDARD  | 
设计与制造  | GB12233/GB 12235  | 
结构长度  | GB 12221/JB96(长系列)  | 
结构长度  | GB78/JB79(GB、HG、SH)  | 
压力试验  | GB/T 13927  | 
标志  | GB 12220  | 
供货  | GB/T12252  | 

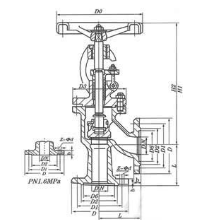
角式截止阀 主要外形尺寸
J44H角式截止阀-1.6MPa
DN  | in  | L  | D  | D1  | D2  | f  | b  | z-φd  | Do  | H1  | H2  | W  | 
15  | 1/2  | 65/90  | 95  | 65  | 45  | 2  | 14  | 4-φ14  | 100  | 240  | 265  | 7  | 
20  | 3/4  | 75/95  | 105  | 75  | 55  | 2  | 16  | 4-φ14  | 100  | 245  | 270  | 7.5  | 
25  | 1  | 80/100  | 115  | 85  | 65  | 2  | 16  | 4-φ14  | 120  | 250  | 275  | 8.5  | 
32  | 21/4  | 95/105  | 135  | 100  | 78  | 2  | 18  | 4-φ18  | 140  | 260  | 290  | 12  | 
40  | 21/2  | 100/115  | 145  | 110  | 85  | 2  | 18  | 4-φ18  | 140  | 290  | 325  | 14  | 
50  | 2  | 115/125  | 160  | 125  | 100  | 2  | 20  | 4-φ18  | 160  | 300  | 335  | 19  | 
65  | 21/2  | 145  | 180  | 145  | 120  | 2  | 20  | 4-φ18  | 180  | 355  | 400  | 27  | 
80  | 3  | 155  | 195  | 160  | 135  | 2  | 22  | 4-φ18  | 240  | 400  | 450  | 42  | 
100  | 4  | 175  | 215  | 180  | 155  | 2  | 24  | 8-φ18  | 240  | 455  | 495  | 50  | 
125  | 5  | 200  | 245  | 210  | 185  | 2  | 26  | 8-φ18  | 280  | 530  | 560  | 64  | 
150  | 6  | 240/225  | 280  | 240  | 210  | 2  | 28  | 8-φ23  | 320  | 605  | 650  | 85  | 
200  | 8  | 275  | 335  | 295  | 265  | 2  | 30  | 8-φ23  | 360  | 650  | 770  | 155  | 
J44H角式截止阀-2.5MPa
DN  | in  | L  | D  | D1  | D2  | f  | b  | z-φd  | Do  | H1  | H2  | W  | 
15  | 1/2  | 65/90  | 95  | 65  | 45  | 2  | 16  | 4-φ14  | 120  | 245  | 270  | 7.5  | 
20  | 3/4  | 75/95  | 105  | 75  | 55  | 2  | 16  | 4-φ14  | 120  | 250  | 275  | 8.8  | 
25  | 1  | 80/100  | 115  | 85  | 65  | 2  | 16  | 4-φ14  | 140  | 260  | 290  | 11  | 
32  | 21/4  | 95/105  | 135  | 100  | 78  | 2  | 18  | 4-φ18  | 140  | 290  | 325  | 13  | 
40  | 21/2  | 100/115  | 145  | 110  | 85  | 3  | 18  | 4-φ18  | 160  | 300  | 335  | 18  | 
50  | 2  | 115/125  | 160  | 125  | 100  | 3  | 20  | 4-φ18  | 180  | 355  | 400  | 31  | 
65  | 21/2  | 145  | 180  | 145  | 120  | 3  | 22  | 8-φ18  | 220  | 400  | 450  | 39  | 
80  | 3  | 155  | 195  | 160  | 135  | 3  | 22  | 8-φ18  | 280  | 450  | 495  | 50  | 
100  | 4  | 175  | 230  | 190  | 160  | 3  | 24  | 8-φ23  | 320  | 530  | 590  | 60  | 
125  | 5  | 200  | 270  | 220  | 188  | 3  | 28  | 8-φ25  | 380  | 600  | 650  | 75  | 
150  | 6  | 240/225  | 300  | 250  | 218  | 3  | 30  | 8-φ25  | 400  | 650  | 770  | 98  | 
200  | 8  | 275  | 360  | 310  | 278  | 3  | 34  | 12-φ23  | 450  | 700  | 850  | 170  | 
良好的品质、优良的服务 千亿app官方web站登入-千亿(中国)为你创造更多价值!
   
  
“千亿app官方web站登入-千亿(中国)”的期望,不断提升服务质量,精益求精,“真诚的服务”是“千亿app官方web站登入-千亿(中国)”永恒的主题。“千亿app官方web站登入-千亿(中国)”严格按照IS09001-2000 质量体系认证要求,质量严格把关, 责任到人,确保生产、销售、服务的健康运行。加强与用户沟通,竭诚为广大客户提供优良产品,至善至美服务。特此我厂做出以下承诺:
  
产品标准:
  
产品严格按照中国GB、HG 标准和美国API等标准设计、制造、验收。密封面硬度达到国家规定要求,宽度超过国家标准。 
  
售前服务:
  
产品介绍,技术交流,非标产品设计,疑难解答。 
  
售中服务:
  
守信合同,保证及时供货,随时保持与客户联系。 对特殊或复制的产品,我厂安排技术人员对用户进行产品使用、故障排除
  
售后服务:
  
1、“千亿app官方web站登入-千亿(中国)”牌产品品质期为自出厂起12个月,实行“三包”服务(包退、包换、保修)。 
  
2、产品在使用中我厂定期组织技术、质检人员进行访问,征询用户对产品质量、 使用状况、改进意见等方面的反馈, 以便进一步提高产品质量。 
  
3、对用户投诉质量问题,快速作出反应,售后服务人员在24-36小时(省外48小时)赶赴现场。 
  
4、对售后服务,要求用户填写服务后的质量反馈信息表,并作出鉴定意见,以便提高千亿app官方web站登入-千亿(中国)的服务质量。 
  
1、客户如对产品有特殊要求,须在订货合同中提供以下说明: 
  
a、结构长度;
  
b、连接形式;
  
c、公称直径、全通径、缩径、管道尺寸;
  
d、运行介质及温度、压力范围;
  
e、试验、检验标准及其他要求 
  
2、本厂可根据客户特定要求配置各类驱动装置。 
  
3、如由客户提供确定的阀门类型和型号时,客户应正确说明其型号的含义和要求,在供需双方理解一致的条件下签订合同。 
  
4、期货、订货的客户请先来电函详细告诉所需的阀门型号、规格、数量以及交货时间、地点,并按总的30%预定金或全额货款及时汇入我厂帐户,其余货款待发货前汇入,以便及时安排发货。
  
订单流程:
  
1、客户采购清单传真至,或来电咨询 
  
2、收到客户采购清单,为客户提供阀门型号选型与报价(价格清单)。
  
3、具体商定:交货期、特殊要求等事宜。
  
订货须知:
  
1、客户如对产品有特殊要求,须在订货合同中提供以下说明:
            | 
    |||||
 
            | 
    |||||
2、本厂可根据客户特定要求配置各类驱动装置。
            | 
    |||||
3、如由客户提供确定的阀门类型和型号时,客户应正确说明其型号的含义和要求,在供需双方理解一致的条件下签订合同。
            | 
    |||||
4、期货、订货的客户请先来电函详细告诉所需的阀门型号、规格、数量以及交货时间、地点,并按总的30%预定金或全额货款及时汇入我厂账户, 其余货款待发货前汇入,以便及时安排发货。
            | 
    
售中服务:
  
守信合同,保证及时供货,随时保持与客户联系。
  
对特殊或复制的产品,我厂安排技术人员对用户进行产品使用、故障排除
  
售后服务:
  
1、“千亿app官方web站登入-千亿(中国)”产品品质期为自出厂起12个月,实行“三包”服务(包退、包换、保修)。
  
2、产品在使用中我厂定期组织技术、质检人员进行访问,征询用户对产品质量、使用状况、改进意见等方面的反馈,
  以便进一步提高产品质量。
  
3、对用户投诉质量问题,快速作出反应,售后服务人员在24-36小时(省外48小时)赶赴现场。
  
4、对售后服务,要求用户填写服务后的质量反馈信息表,并作出鉴定意见,以便提高“千亿app官方web站登入-千亿(中国)”的服务质量。
声明  | 
                          
  |